我们非常重视您的个人隐私,当您访问我们的网站时,请同意使用的所有cookie。有关个人数据处理的更多信息可访问《隐私政策》
纳芯微全新推出首款业界领先的NSE11409系列智能低边开关芯片,该款芯片是专门针对驱动高可靠性负载应用而设计的,广泛应用于驱动汽车和工业场景中的继电器、执行阀、照明和加热电阻丝等负载元件。

▲ 典型应用框图
NSE11409是车规级40V/单通道90mΩ智能低边开关, 具备完整的诊断与保护功能,芯片内置>45V的过压钳位,特别适用于驱动继电器和阀门等电感负载,实现快速退磁。该款芯片内部能够对输出进行限流,具备开路诊断以及过温保护等功能。能够在-40℃至125℃的环境温度下正常运行,可提供SO-8和SOT-223两种封装形式,满足不同的设计需求。

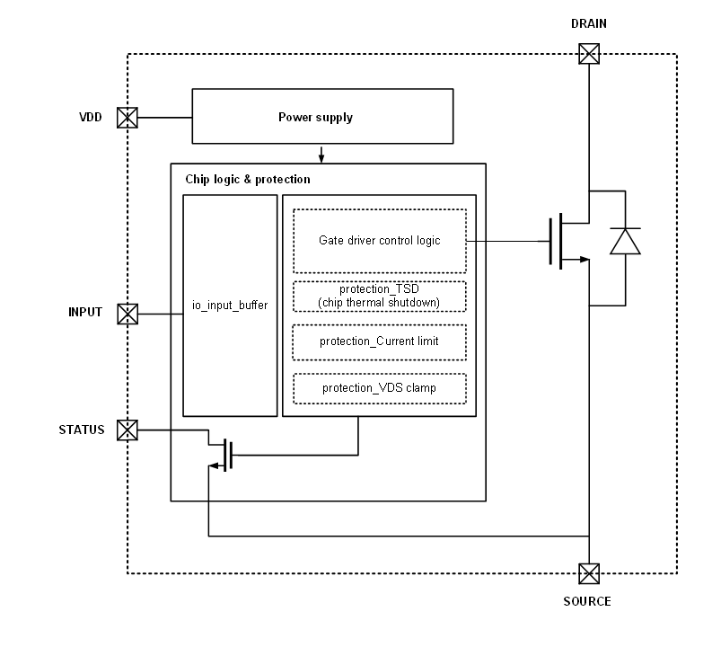
▲ NSE11409系列功能框图

▲ NSE11409系列封装管脚图
• 满足 AEC-Q100 车规要求
• 工作环境温度:-40℃ ~ 125℃
• 工作电压范围达40V
• 超低静态功耗 Iq < 10uA
• 过压钳位,支持接感性负载
• 过流保护:限流值 > 8A
• 过温保护:绝对过温保护,相对过温保护
• 完整诊断输出(SO-8封装版本):开路检测,过温检测
• BMS
• 车身电子控制器
• 整车控制器
• 空调面板控制器
测试波形1:电感负载过压钳位

测试波形2:动态过温保护和过流钳位
测试波形3:1.5A负载ON/OFF
测试波形4:绝对过温保护
// 免费送样
NSE11409系列产品均可提供样品,如需申请样片或订购可邮件至sales@zghfgroupyz.com或拨打0512-62601802,更多信息敬请访问www.zghfgroupyz.com