hga010手机版下载·(中国区)官方网站hga010手机版下载

我们非常重视您的个人隐私,当您访问我们的网站时,请同意使用的所有cookie。有关个人数据处理的更多信息可访问《隐私政策》

产品中心
隔离电流放大器

产品中心

高可靠性隔离电流采样放大器

NSI1300是输出与输出基于NOVOSENSE电容隔离技术的隔离电流采样运放。此系列产品具有线性差分输入信号±50mV(满量程±64mV)或±250mV范围(满量程±320mV)。故障安全功能包括输入共模过压检测和VDD1缺失检测,简化了系统设计和诊断。NSI1300的固定增益为8.2/41,并提供差分模拟输入。低失调和增益漂移确保了整个温度范围内的精度。高共模瞬变抗扰度(CMTI)可确保即使在存在大功率开关的情况下(例如在电机控制应用中),该设备也能够提供精准而可靠的测量结果。

产品特性

• 最高5000Vrms绝缘电压                                                                                                          

• ±50mV或±250mV线性输入电压范围

• 固定增益:8.2或41

• 低偏置误差和温漂:

     • NSI1300D25: ±0.2mV(Max), -2~4μV/°C(Max)

     • NSI1300D05: ±0.1mV(Max), -0.8~1μV/°C(Max)

• 低增益误差和温漂:

     • ±0.3%(Max),±50ppm /°C(Max)

• 低非线性和温漂:

     • ±0.03%(Max),±1ppm /°C(Typ)

• SNR:86dB(Typ,BW = 10kHz),72dB(Typ,BW = 100kHz)     

• 带宽:310kHz(Typ)

• 高CMTI:150kV /us( Typ)

• 系统级诊断功能:

     • VDD1监控

     • 输入共模过压检测

• 工作温度:-40°C〜125°C

• 符合RoHS的封装:

     • SOP8(300mil)


安全认证

•  UL1577认证: 1分钟 5kVrms

•  CQC认证:符合GB4943.1-2011

•  CSA认证:组件符合5A

•  VDE认证:DIN V VDE V 0884-11:2017-01


应用场景

• 分流电流监控

• 交流电机控制

• 电力和太阳能逆变器

• 不间断电源供应

• 车载充电器


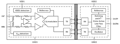
功能框图

1300-框图.png

如您需要咨询产品更多信息,请点击“hga010手机版下载”,我们将尽快回复您!

hga010手机版下载